Componenti di posizionamento: set di blocchi di bloccaggio
JHN09
| Materiale | Durezza |
| 1.2343 | HRC50 ° ~ 56 ° |
Contattaci
| Materiale | Durezza |
| 1.2343 | HRC50 ° ~ 56 ° |
Contattaci

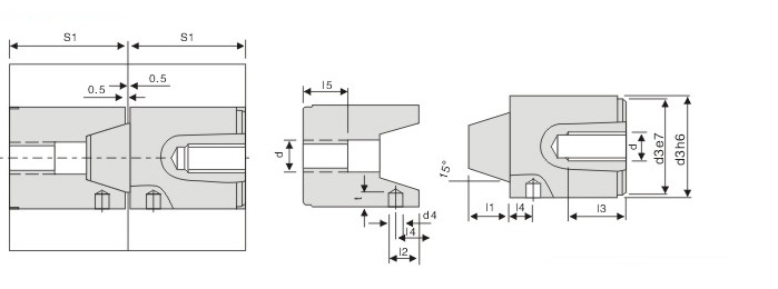
| genere | Dimensione | |||||||||
| t | d4 | d | I5 | I4 | I3 | I2 | I1 | S1 | b3 | |
| JHN09 / 30 | 5 | 4 | M10 | 16,5 | 4.5 | 20 | 11.5 | 10.5 | 36 | 30 |
| JHN09 / 42 | 7 | 5 | 18.5 | 5.5 | 15.5 | 14.5 | 46 | 42 | ||
| JHN09 / 54 | 8 | 6 | M12 | 20.5 | 7.5 | 25 | 18.5 | 17.5 | 56 | 54 |
| JHN09 / 80 | 11 | 8 | M16 | 25.5 | 30 | 28.5 | 27.5 | 76 | 80 | |








